Friday 14 November 2025
618
Reproduction without the author's authorization is prohibited

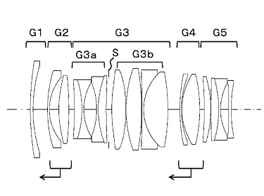
On November 7th, Sigma's patent application P2025-167449A was published. Judging from the lens structure, this appears to be a patent for a 35mm F1.2 DGL lens, but it includes embodiments that seem to target 28mm F1.2 and 24mm F1.2 lenses.
Sigma has already released 35mm and 50mm F1.2 autofocus lenses. Does this mean they will be adding wide-angle focal lengths to their large-aperture lens series? All these embodiments seem to employ a floating focusing mechanism that splits the focusing unit in two.
Statement: all contents and remarks made by K&F CONCEPT 's intranet friends only represent themselves and do not reflect any K&F CONCEPT 's opinions and views.
![]()
welcome to
K&F CONCEPT
![]()
Cookies on kfconcept.comWe use cookies to give you a better service. Continue browsing if you're happy with this, or find out more about Privacy Policy.